- 您现在的位置:首页 > 中心动态> 【科研新进展】阮俊虎教授团队在数字时代农业社会化服务体系建设领域取得重要进展
-
【科研新进展】阮俊虎教授团队在数字时代农业社会化服务体系建设领域取得重要进展
发布时间:2026-03-21 作者:孙瑶 出处: 浏览:次
近日,经管学院阮俊虎教授团队在《中国农村观察》发表题为“数字时代农业社会化服务体系建设的进路探索——基于“大国小农”国情”的研究论文,阮俊虎教授的博士生孙瑶为第一作者,阮俊虎教授为通讯作者。
“大国小农”的基本国情困滞了中国农业现代化转型步伐。农业社会化服务作为衔接小农户与现代农业的重要抓手,随着数字时代的契机涌现,其体系建设对于实现新时代中国农业现代化具有重要的推动作用。本研究围绕数字时代农业社会化服务体系建设的动因、困境、模式和战略展开,对农业社会化服务体系建设的现实动因与困境进行剖析,借鉴典型示范模式,进而提出数字化建构战略。
本文的边际贡献主要体现在以下两个方面。一是研究视角的拓展。本文以数字技术兴起这一时代契机为抓手,分析数字时代农业社会化服务体系建设的关键动因以及所面临的现实困境,基于多个典型模式的经验,提出符合中国实际国情的体系建设战略。二是研究对象的丰富。本文的研究对象涵盖企业、职能部门和地方政府,三类研究对象的功能类别各不相同,有助于从多个角度得出普适性结论。
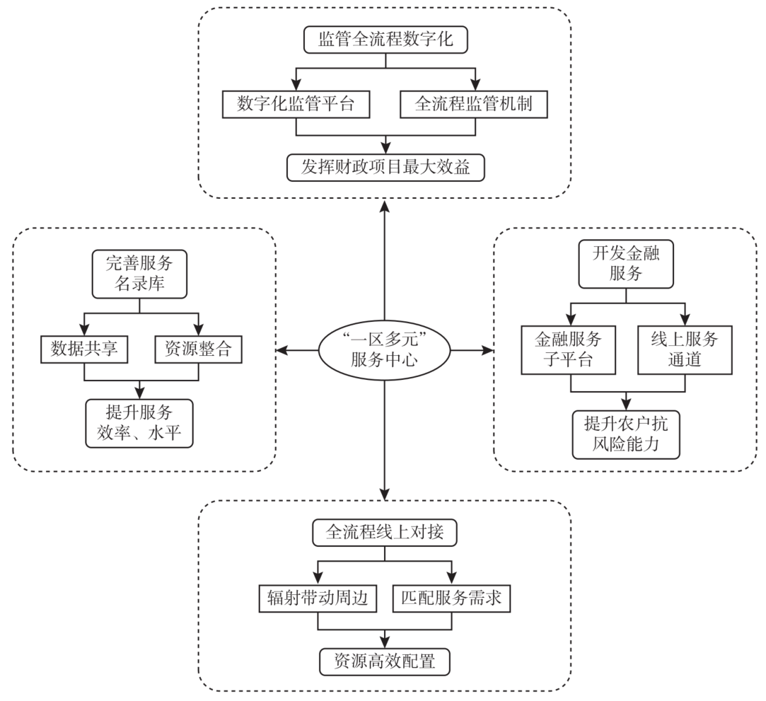
研究发现:第一,“大国小农—现代农业”的主要矛盾、“政府支持—市场优势”的外生推力以及“技术驱动—需求升级”的内生动力是推动数字时代中国农业社会化服务体系建设的关键动因;第二,数字时代的新特征导致农业社会化服务体系的构建面临技术赋能、数据孤岛、服务资源碎片化、利益失衡、政策协同失灵、市场活力不足等六重困境;第三,“线上线下一体化”的双情景适用模式、“全产业链服务平台”的纵向贯穿模式以及“一区多元”服务中心的横向覆盖模式具有典型示范性;第四,基于体系建设的六重困境,借鉴典型模式,提出完善数字应用设施推广与人才引进战略、优化数据预处理环境与数据共享机制、推广农业社会化服务平台与区域农业社会化服务中心、深化利益联结机制创新与博弈规则重构、强化政策的系统性设计与基层适配、加快多元化主体培育与市场运营机制创新等六维战略,一一破解体系建设困境。本研究为把握数字时代中国农业社会化服务体系建设的基本方向、探索实施路径,提供了理论支撑与现实依据。

图1 “线上线下一体化”的双情景适用模式

图2 “全产业链服务平台”的纵向贯穿模式

图3 “一区多元”服务中心的横向覆盖模式
该研究得到了国家社会科学基金重大项目“我国农产品供应链数字化转型的发展战略与实施路径研究(23&ZD123)”的资助。
